Quantcast
Channel: 月と空の浜辺
Viewing all articles
Browse latest Browse all 7513

5月16日(月)のつぶやき その1

$
0
0
 Rui @Lunalight_L 07:05

ねむねむ

from Twitter Web Client返信 リツイート お気に入り  Rui @Lunalight_L 08:40

@otakoji38 おはおはございます><

from Twitter Web Client返信 リツイート お気に入り  Rui @Lunalight_L 08:41

@otakoji38 @Sieg369 朝から、うちのチムメンの廃人っぷりを目撃しました!!(キリッ

from Twitter Web Client返信 リツイート お気に入り  Rui @Lunalight_L 08:42

@ova135 グラボが壊れているか、ドライバがおかしいか、ちょっと怖いですね
場合によっては初期不良対応してもらうレベルです

from Twitter Web Client返信 リツイート お気に入り  Rui @Lunalight_L 08:52

ん~、どうするかな。忙しいスケジュールだと現実逃避したくなりますよね(何

from Twitter Web Client返信 リツイート お気に入り  しぃの実 @tkgsize 03:06

何が言いたいかというと
ドラゴンボール超がヤバい?(43話) pic.twitter.com/kzHAX6arPP

Ruiさんがリツイート | 2024 RT from Twitter Web Client返信 リツイート お気に入り  夜天煌 @velial666_guren 09:01

Civ5買ってみた。時間が過ぎるのがはやい…流石の中毒性

Ruiさんがリツイート | 1 RT from Twitter Web Client返信 リツイート お気に入り  Vやねんちゃん @GoblinSmithy 09:19

嘘みたいだろ?

これ勝ってない試合なんだぜ... pic.twitter.com/QBHu9cfV62

Ruiさんがリツイート | 105 RT from Twitter Web Client返信 リツイート お気に入り  さつまのかみ なんちゃら @uezn 08:54

[タイミングとか色々悪すぎてアリバイ作りとしか…]
・この情報出るのになんで1ヶ月もかかったの
・CH47が8割も飛べないこと自体がニュースとして取り上げられていないの
[地震時、自衛隊大型ヘリ緊急点検…8割飛べず : 読売新聞
yomiuri.co.jp/national/20160…

Ruiさんがリツイート | 4 RT from Twitter Web Client返信 リツイート お気に入り  ナナシ=ロボ @robo7c7c 07:48

おすぷれーでワーキャー騒がしかったが、この視点は見なかった気がする。おまいらの間では気付いてたの?>軍ヲタ。

自衛隊 大型ヘリ8割飛べず…地震発生時 緊急の一斉点検で
premium.yomiuri.co.jp/pc/#!/news_201… pic.twitter.com/88cQylRCOz

Ruiさんがリツイート | 41 RT from Twitter Web Client返信 リツイート お気に入り  Rui @Lunalight_L 11:01

未だにエアリアルアドバンスの強さを知らない人っているのね(~o~)..oO

from Twitter Web Client返信 リツイート お気に入り  Rui @Lunalight_L 12:06

@Sieg369 @otakoji38 5人くらいいた気がする!じーくんとか!(キリッ

from Twitter Web Client返信 リツイート お気に入り  Rui @Lunalight_L 12:07

Steamブロードキャストは、Steam以外のゲームも配信出来るみたいだけど、ぷそ2も行けるのかな。
今度実験してみよう(~o~)<nProに弾かれるかな? #PSO2 #Steam

from Twitter Web Client返信 リツイート お気に入り  Rui @Lunalight_L 12:25

@Sieg369 タダのガンナーのスキルよ~。対空攻撃時、ダメージ倍率爆上げの奴ね。対雑魚戦の要。

from Twitter Web Client返信 リツイート お気に入り  Rui @Lunalight_L 12:26

神プロはMVPもぎ取るのが楽しい感。ランク差ありすぎると手が出ないけど、ちょっと高い程度なら途中からでも食えるな(~o~)<微妙っぽいけどソロモン楽しいわよー

from Twitter Web Client返信 リツイート お気に入り  Rui @Lunalight_L 12:28

こっちランク30くらいで相手55とかだと、世界が違いすぎる(笑
けど45とかならそこまで大差はなさそう。まあ高レベルほど上げるの大変なはずだから、数値差の累乗で能力差あるんだろうけれど

from Twitter Web Client返信 リツイート お気に入り  Rui @Lunalight_L 12:30

パクリ元と違って高性能なイベキャラ配布がなかったり、稼働期間の割にはイベボスのインフレが早くて、難易度は高いらしいけど、やってる分にはそこまで高い感じはしない。
ボスがバーストモードになったらタコるくらいか。
スキル使用順ミスると流石にヤバイけど。

from Twitter Web Client返信 リツイート お気に入り  SiG?(RNA‐90製作中) @sigp226maid 11:49

一人ホビーショーしてます。
( ゚Д゚)「あ"ぁ~らっしゃいらっしゃい」 pic.twitter.com/TY34oKrMas

Ruiさんがリツイート | 40 RT from Twitter Web Client返信 リツイート お気に入り  Rui @Lunalight_L 12:52

「はさまっちまった!」の進化型・・・!?><

from Twitter Web Client返信 リツイート お気に入り  Rui @Lunalight_L 12:53

Lunalight-L団長の今日のやる気は、エピデンドラム「うんうん、だいたいこんなもんでいいんじゃない?」です。
shindanmaker.com/624520
うんうん、こんなもので良いと思う!(~o~)/

from Twitter Web Client返信 リツイート お気に入り  Rui @Lunalight_L 12:59

てか団長たちって、基本頭良いな・・・作られるネタのレベルが凄い(笑

from Twitter Web Client返信 リツイート お気に入り  庭見 @haginomochi 18:06

お嬢様がジャンクフードという庶民の食べ物を食べて「こんなおいしいもの初めて食べた!」みたいな展開よく見るけど俺の知り合いの箱入り娘は全員マック食べさせると無言で残してるから参考にしてくれよな

Ruiさんがリツイート | 9101 RT from Twitter Web Client返信 リツイート お気に入り  にいち@作品集4/27発売 @niichi021 20:02

ハグをしてくれる代わりに手料理を要求する女の子と、手料理を作ってくれる代わりにハグを要求する女の子です。お好きなほうをお選びください。 pic.twitter.com/IX7hEcnXwI

Ruiさんがリツイート | 37708 RT from Twitter Web Client返信 リツイート お気に入り  Rui @Lunalight_L 15:09

ぎゃー、また仕事増えたー><;;

from Twitter Web Client返信 リツイート お気に入り  AUTOMATON 日本版公式 @AUTOMATONJapan 16:11

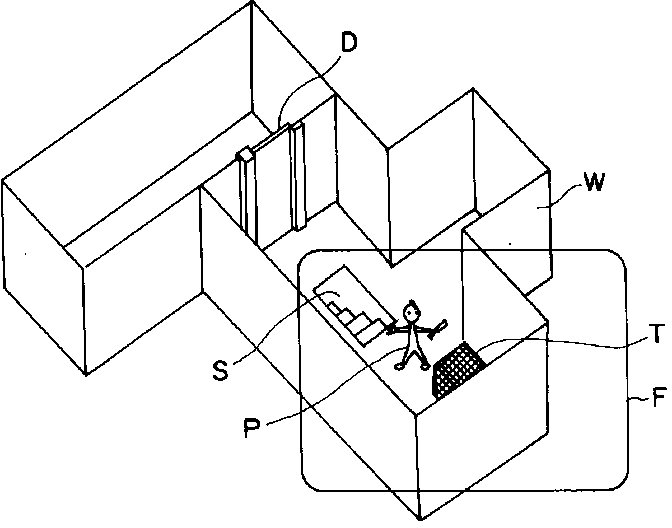
【ニュース】コナミの「俯瞰視点で壁を透過表示する特許」が期間満了、3Dアクションゲームのカメラ操作などに影響 bit.ly/1TgQaGH pic.twitter.com/P7RLufoC81

Ruiさんがリツイート | 1108 RT from Twitter Web Client返信 リツイート お気に入り

Viewing all articles
Browse latest Browse all 7513

Trending Articles